+998-78-113-62-18
Телефон для связи:
Электронная почта:

пн.-пт. с 9:00 до 18:00

Опоры ТПР в Ташкенте

Показано 40 из 532 товара в разделе Опоры ТПР

Опоры ТПР используют на атомных и электростанциях, для поддержки и фиксации специализированных и бытовых путепроводов, на перерабатывающих тепловых и энергостанциях. Обеспечивают безопасное функционирование трубопровода. Свяжитесь с нашими специалистами, чтобы подобрать подходящий вам вариант оплаты и доставки!

Перезвоним за 15 минут

Менеджер отдела продаж

Сергей

Менеджер отдела продаж

Фильтры
Сбросить
Фильтры
По умолчанию
* Уважаемые заказчики! Актуальная цена формируется исходя из: объема поставки, формы оплаты и удаленности от заказчика места отгрузки. Информация в каталоге о цене и наличии носит информационный характер и не является публичной офертой, определяемой положениями ч. 2 ст. 437 Гражданского кодекса РФ. Цены уточняйте по телефонам наших офисов в г. Ташкент

Наши преимущества

advantage
Полный цикл сделки
Подберём, укомплектуем и доставим заказ по одной заявке
advantage
Широкий ассортимент
Ходовые товары отгружаем из наличия и под заказ поставляем редкие товары. Весь сортамент сертифицирован
advantage
Гибкие условия сотрудничества
Отсрочки платежей и скидки для постоянных клиентов. Нетиповые заказы и индивидуальные решения — наш конёк
advantage
Обрабатываем и производим на заказ
Тратьте меньше на обработку и логистику, изготавливаем и обрабатываем заготовки в собственных цехах

Наши менеджеры ответят
на все вопросы и помогут быстро
оформить заказ

Вы можете воспользоваться формой обратной связи, приложить документ, изображение чертежей или воспользоваться удобным для вас мессенджером:

Описание

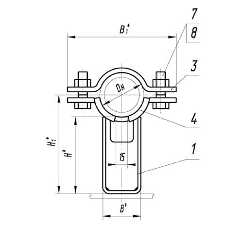
Опоры ТПР – разновидность трубных опор.

Технические характеристики и классификации

Относится к хомутовым неподвижным и подвижным опорам(по типу конструкции). Неподвижные монтируют на узловых точках путепровода для прокладки подземных и наземных труб. Предотвращают смещение трубы, обеспечивая целостность трубопровода. Подвижные опоры снижают риск повреждения трубы при тепловых смещениях.

По форме и функционалу делятся на:

  • скользящие диэлектрические
  • приварные
  • корпусные, бескорпусные
  • бугельная неподвижная

Основная функция: фиксация трубопровода в проектном положении, защиты путепровода от механических повреждений и рабочих нагрузок. Представляет из себя основание (стальной упор) с ложементом для фиксации трубы. Отличается высокой износостойкостью, устойчивостью к коррозии, вибрациям, пульсациям, механическим нагрузкам. Различается по диаметру, массе, допустимой нагрузке. Диаметр варьируется от 18 мм до 1620 мм. Производится сваркой, штамповкой из горячекатаной стали, высоколегированной стали, нержавеющей стали, конструкционной стали. Выдерживает вес трубопровода и передает остаточные нагрузки на несущие конструкции. Защищает трубы от перегревания, снижение гидроусилий на распорных конструкциях.

 

 

Мы используем файлы cookie
Подробнее