+998-78-113-62-18
Телефон для связи:
Электронная почта:

пн.-пт. с 9:00 до 18:00

Фонари морские (судовые) в Ташкенте

Показано 26 из 26 товаров в разделе Фонари морские (судовые)

Фонари морские (судовые) - это промышленное оборудование, которое применяют для решения широкого круга производственных задач. Оборудование этого типа используется в металлургии, машиностроении, строительстве, ремонтных и сервисных подразделениях. Фонари морские (судовые) отличаются надежностью, длительным сроком службы и стабильными характеристиками при интенсивной эксплуатации.

Перезвоним за 15 минут

Менеджер отдела продаж

Сергей

Менеджер отдела продаж

Фильтры
Сбросить
Фильтры
По умолчанию
* Уважаемые заказчики! Актуальная цена формируется исходя из: объема поставки, формы оплаты и удаленности от заказчика места отгрузки. Информация в каталоге о цене и наличии носит информационный характер и не является публичной офертой, определяемой положениями ч. 2 ст. 437 Гражданского кодекса РФ. Цены уточняйте по телефонам наших офисов в г. Ташкент

Наши преимущества

advantage
Полный цикл сделки
Подберём, укомплектуем и доставим заказ по одной заявке
advantage
Широкий ассортимент
Ходовые товары отгружаем из наличия и под заказ поставляем редкие товары. Весь сортамент сертифицирован
advantage
Гибкие условия сотрудничества
Отсрочки платежей и скидки для постоянных клиентов. Нетиповые заказы и индивидуальные решения — наш конёк
advantage
Обрабатываем и производим на заказ
Тратьте меньше на обработку и логистику, изготавливаем и обрабатываем заготовки в собственных цехах

Наши менеджеры ответят
на все вопросы и помогут быстро
оформить заказ

Вы можете воспользоваться формой обратной связи, приложить документ, изображение чертежей или воспользоваться удобным для вас мессенджером:

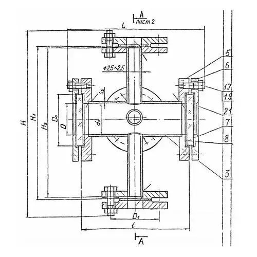
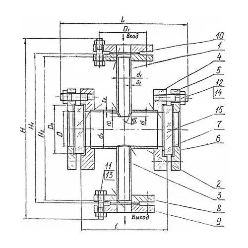
Описание

Смотровые фонари применяют для визуального контроля рабочего потока жидкостей или газовых сред в системе технологических линий. Деталь изготавливается из стального сплава высокой прочности. Смотровое окно выполнено из стекла. Могут быть использованы любые технологические марки стали. Для крепления смотровых фонарей могут быть использованы любые шпильки и гайки.

Технические характеристики

  • Тип 1. Представляет собой прямоточные конструкции с плоскими стеклами. Условное давление для данного типа соответствует 0,6-1,6 Мпа. Данный тип смотровых фонарей допускает рабочую температуру -40 - +200 градусов при условии транспортировки нейтральных и кислых сред. Для щелочной среды разброс температур соответствует -40 - +100 градусов. Для отдельной категории нейтральных и кислых сред максимальная температура может быть увеличена до 300 градусов. Щелочные среды допускают максимальную температурную нагрузку до уровня 110 градусов. Условный проход для смотровых фонарей типа 1 соответствует 200-300 мм
  • Тип 2. Представляет собой угловые обзорные конструкции с плоскими стеклами. Условное давление для данного типа соответствует 0,6-1,6 Мпа. Данный тип смотровых фонарей допускает рабочую температуру -40 - +200 градусов при условии транспортировки нейтральных и кислых сред. Для щелочной среды разброс температур соответствует -40 - +100 градусов. Условный проход для смотровых фонарей типа 2 соответствует 200-300 мм
  • Тип 3. Представляет собой прямоточные конструкции трубчатого типа. Условное давление для данного типа соответствует 0,6-2 Мпа. Данный тип смотровых фонарей допускает рабочую температуру -50 - +120 градусов при условии транспортировки кислых и щелочных сред. Условный проход для смотровых фонарей типа 3 соответствует 20-150 мм

Виды

Смотровые фонари могут быть произведены в следующих вариантах исполнений:

  • Фонарь с ответным типом соединения
  • Фонарь без ответного типа соединения
  • Исполнение без фланца

Для первого и второго типа исполнения смотровых фонарей предусмотрены следующие конструктивные элементы и особенности поверхности:

  • Вариант с гладкой поверхностью
  • Деталь с наличием пазов
  • Поверхность с впадинами

Рабочие параметры:

  • Условный проход – 20-300 мм
  • Диаметр стекла – 80-150 мм
  • Внутренний диаметр – 50-120 мм
  • Наружный параметр – 75-410 мм
Мы используем файлы cookie
Подробнее