+998-78-113-62-18
Телефон для связи:
Электронная почта:

пн.-пт. с 9:00 до 18:00

Швартовые тумбы в Ташкенте

Показано 17 из 17 товаров в разделе Швартовые тумбы

Швартовые тумбы - это промышленное оборудование, которое применяют для решения широкого круга производственных задач. Оборудование этого типа используется в металлургии, машиностроении, строительстве, ремонтных и сервисных подразделениях. Швартовые тумбы отличаются надежностью, длительным сроком службы и стабильными характеристиками при интенсивной эксплуатации.

Перезвоним за 15 минут

Менеджер отдела продаж

Сергей

Менеджер отдела продаж

Фильтры
Сбросить
Фильтры
По умолчанию
* Уважаемые заказчики! Актуальная цена формируется исходя из: объема поставки, формы оплаты и удаленности от заказчика места отгрузки. Информация в каталоге о цене и наличии носит информационный характер и не является публичной офертой, определяемой положениями ч. 2 ст. 437 Гражданского кодекса РФ. Цены уточняйте по телефонам наших офисов в г. Ташкент

Наши преимущества

advantage
Полный цикл сделки
Подберём, укомплектуем и доставим заказ по одной заявке
advantage
Широкий ассортимент
Ходовые товары отгружаем из наличия и под заказ поставляем редкие товары. Весь сортамент сертифицирован
advantage
Гибкие условия сотрудничества
Отсрочки платежей и скидки для постоянных клиентов. Нетиповые заказы и индивидуальные решения — наш конёк
advantage
Обрабатываем и производим на заказ
Тратьте меньше на обработку и логистику, изготавливаем и обрабатываем заготовки в собственных цехах

Наши менеджеры ответят
на все вопросы и помогут быстро
оформить заказ

Вы можете воспользоваться формой обратной связи, приложить документ, изображение чертежей или воспользоваться удобным для вас мессенджером:

Описание

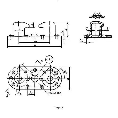
Швартовые тумбы – это специальные составные приспособления, отличающиеся высокой прочностью, и предназначенные для удержания морских и речных судов во время их стоянки у причалов. Устройства изготавливаются из высокопрочного металла и состоят из двух основных элементом:

  • анкерной части – крепится в бетонное основание пирса
  • головы тумбы – основной элемент, вокруг которого фиксируются швартовые тросы и канаты

Верхняя часть тумбы называется приливом (или козырьком) и имеет округлую выпуклую форму. Козырек способствует быстрому креплению канатов, а также предотвращает их соскальзывание. Именно такое устройство швартовых тумб обеспечивает безопасную эксплуатацию причальных сооружений и способствует надежному удержанию судов в нужном положении даже во время чрезмерных нагрузок. Основные технологические нормы, которым должны соответствовать швартовые тумбы, а также их качество, правила приемки и методы контроля регулируются действующим российским стандартом ГОСТ 17424-72. При изготовлении устройств ведется контроль за качеством их отливки в соответствии с актуальным отечественным нормативным актом ГОСТ 1412-85. При приемке конструкций строго контролируются следующие моменты:

  • соответствие установленным линейным размерам
  • правильность расположения отверстий для крепления
  • качество поверхности устройств
  • масса каждого приспособления

Контроль качество покрытия изделий осуществляется визуально.

Классификация и особенности маркировки

Тумбы швартовые морские в зависимости от условий эксплуатации подразделяются на следующие типы:

  • приспособления, которые предназначены для использования в умеренном климате – данный вид изделий имеет специальное грунтовое покрытие, которое соответствует ГОСТ 9.074-77
  • тумбы для причалов, расположенных в тропических климатических зонах – поставляются с внешним покрытием, соответствующим ГОСТ 15157-69

Тумбы для швартовки – это продукция, которая обязательно проходит процесс маркировки на заводе-изготовителе. В соответствии с установленными нормами, штамп на изделиях должен содержать следующие сведения:

  • наименование и товарный знак предприятия, выпустившего продукцию
  • условное обозначение конструкции
  • порядковый номер
  • вес изделия

Масса приспособления зависит от его типа и составляет: тумба ТСД 40/25 – в пределах 750 кг, ТСО-40 - не больше 630 кг, ТСС-63 – до 1700 кг.

Мы используем файлы cookie
Подробнее